Бирюльки №198. Свершилось – Apple повернулся к России лицом, а к Европе…

Всем привет,

Советую запастись терпением, так как темы разнообразные и некоторые из них уже выглядят как сериал, который успешно идет многие годы по кабельному, а мы пережевываем новые серии с теми же героями, но другими обстоятельствами.

Написав про уход Panasonic с потребительского рынка, я осознал, насколько это малоинтересная тема для большинства. Впрочем, смотря на то, как неактивно читают и обсуждают выход телефонов Sharp на российский рынок, я тоже могу сказать, что японские компании несколько подрастеряли свой дух.

Про Sharp и почему компания не будет успешна в России

А вот тут вы можете прочитать иное мнение о положении японских производителей в мире, оно хорошо подытоживает все, что я писал прежде. Хороший материал, очень рекомендую прочитать:

Отдельно обсудим выход Lenovo на российский рынок смартфонов, эта тема уж больно тесно примыкает к тому, как выходил Sharp. Но начнем с продолжения сериала, в котором появились новые подробности.

Ой, совсем забыл – буквально одной строкой. В третьем квартале объем продаж Galaxy S3 превысил 18 миллионов штук, и этот смартфон обогнал по продажам iPhone 4s, став самым продаваемым в мире. У поклонников Apple это вызвало разрушение стереотипов и поиск объяснений (самое частое, так нельзя считать – все ждали iPhone 5). Не знаю, почему так нельзя считать, ведь сравнивается один период времени и глобальные продажи. Подождем результатов 4 квартала и посмотрим, сможет ли iPhone 5 вернуть себе лидерство. Пока же поклонникам Apple надо придумывать оправдания, почему этого может не произойти. Простите, не удержался, чтобы не подколоть.

Содержание:

  1. Nokia изменила стратегию – следующий этап разрушения
  2. Apple поворачивается к России лицом, а к Европе…
  3. Акции Apple, глобальные продажи и потерянный дух Джобса
  4. Патентная война Apple продолжается – первое перемирие с HTC
  5. Дети и проблема с чтением – возможные пути решения
  6. Социальные сети – поддельные аккаунты и немного про моду
  7. Выход Lenovo на российский рынок – бизнес в стиле Acer

Nokia изменила стратегию – следующий этап разрушения

Вместе с выходом Lumia 920 в продажу состоялись события, которые показали, как в компании изменили свою стратегию и к чему это приводит. Безотносительно того, хороший или посредственный продукт выпустили в Nokia, в компании посчитали, что хорошего PR много не бывает, и очень активно продвигали свой флагман во всех каналах. Объяснение этого следует искать в том, что PR остается самым действенным и дешевым способом достучаться до потребителя. Более того, в режиме тотальной экономии, только средствами PR можно получить значимый отклик, который может подтолкнуть продажи. Но тут возникает иной вопрос – как PR влияет на спрос. Качественный, хороший PR создает определенный спрос, и это аксиома. В плане PR затраты Nokia не только не сократились в последние годы, они даже несколько возросли. Отказываясь от маркетинга, рекламы, в компании посчитали, что PR-направление способно оказывать существенную поддержку. И это правда.

Теперь давайте вспомним, что происходило с флагманами Nokia с 2010 года – цена на них после выхода резко падала. Этот процесс занимал один-два месяца, и снижение составляло, как правило, около 10 процентов, а то и больше. На вторичном рынке появлялось большое число предложений по еще более низким ценам, аппараты были в пользовании считанные недели.

О ситуации со снижением цен я писал здесь.

В ноябре 2012 года в Nokia осознали, что больше не могут брать никакой наценки за бренд, и поэтому установили более низкие цены на свои продукты. Так, стоимость Lumia 920 в США без контракта 450 долларов (с контрактом на два года 100 долларов, что в два раза дешевле Lumia 900 в 2012 году). В России цена Lumia 920 составила 24 990 рублей, хотя изначально в компании ориентировались на уровень в 27-29 тысяч. К относительно щадящей цене в России компанию подтолкнула не столько стратегия, сколько ценовая война по продуктам Samsung между Евросетью и Связным, продажи Galaxy S3 сейчас идут на уровне в 21-22 тысячи рублей (РСТ), в то время как серые аппараты стоят 17-18 тысяч рублей. Учитывая популярность этого решения, можно говорить о том, что любой производитель должен принимать во внимание стоимость этой модели, что и произошло. Наверное, правильным будет не рассматривать российскую цену в привязке к тому, что делает Nokia в США и Европе, так как тут накладываются другие факторы. Исторически российский рынок был самым значимым для Nokia, как в объеме, так и в прибыли. Несмотря на то, что компания потеряла долю рынка, ее продажи Windows Phone смартфонов остаются максимальными именно в России, если брать европейские страны и абсолютные числа. И поэтому в России были максимальные наценки на продукты Nokia – это оборотная сторона популярности марки. Пожалуй, примерно то же самое можно сказать и о стоимости продуктов Apple до недавнего времени в России.

В США перед выходом Lumia 920 произошло снижение цен на Galaxy S3, стоимость не привязанного к оператору телефона составила 499 долларов без учета налогов. В Европе ситуация примерно такая же, то есть предложение от Nokia дешевле. Это ценовое позиционирование показывает, что за последние три года было разрушено все, что соотносилось у потребителей с маркой Nokia и тем, как они ее воспринимали.

Но произошла и другая неприятная история, которая, возможно, подтолкнула компанию к изначально иному ценовому позиционированию. Высокие изначальные цены на продукты и последующее обвальное снижение цен приводили к тому, что люди стали откладывать покупку телефонов Nokia, пока цена на них не снизится до определенного уровня, когда их покупка станет привлекательной (этакая мнимая экономия – продукт стоил сто рублей, а при цене в 60 человек считает, что сэкономил 40 – хотя реальной экономии нет). В Nokia сами переориентировали свои продукты на эту категорию «экономных» потребителей, что готовы покупать телефоны со значительными скидками. И более того, за три года смогли зафиксировать в головах у массового потребителя, что ее продукты становятся дешевле, и очень быстро. К сожалению, это дорога в один конец, так как после постоянного дисконтирования продуктов мало кто будет покупать их за полную стоимость.

С выходом Lumia 920 относительно низкая стартовая стоимость была призвана исправить этот недостаток. Но тут наложилась другая проблема, о ней мы подробно говорили вот в этом материале:

Почему Nokia Lumia провалилась на рынке и кто виноват в этом?

Основной проблемой стало перепроизводство телефонов в ожидании спроса на них. То есть, в Nokia поставляли в каналы большее число телефонов, чем было нужно рынку – в компании ждали, что Windows Phone начнет продаваться в огромных количествах, и поэтому готовились к всплеску спроса. Как известно, такого всплеска не произошло. Еще до объявления о том, что Windows Phone 7.x не будет обновляться до Windows Phone 8, которое произошло в июне 2012 года, у Nokia намертво встали продажи Lumia в адрес партнеров – операторов, розничных сетей, оптовых компаний. Попытки объяснить это очевидным падением продаж после анонса Windows Phone 8 не выдерживают никакой критики. Так, в финансовом отчете Nokia указывается, что потери компании, связанные с перепроизводством смартфонов или закупкой комплектующих для них, которые оказались не нужны, в третьем квартале 2012 года составили 120 миллионов евро. Кварталом ранее убытки, связанные с неправильным прогнозированием, были еще выше – 220 миллионов евро. Думаю, что числа говорят сами за себя.

В Nokia с молотка продают все активы, которые могут быть проданы. Так, компания даже отказалась от собственной штаб-квартиры Nokia House, хотя недооценить психологический момент тут нельзя. В режиме строжайшей экономии в Nokia не могут позволить себе перепроизводства смартфонов и последующих потерь, если их не купят. Поэтому производство новых моделей Lumia впервые идет исходя не из оценок рынка аналитиками компании (в компании, видимо, считают, что они не могут оценить адекватно спрос, и это правда), а из тех заказов, что размещают партнеры. То есть, исходя из гарантированных заказов операторов и партнеров, которые в первой волне получают новые продукты. Что это значит?

Это означает меньшую представленность в розничных сетях и в операторских салонах связи. Никаких запасов на точках продаж, централизованный склад партнера, который распределяет продукцию по мере продаж. Даже если неожиданно окажется, что этот продукт стал бестселлером, в Nokia не смогут извлечь из этого прибыль. Причина в том, что компания просто не произвела для этого достаточного количества аппаратов.

При объявлении финансовых результатов третьего квартала 2012 года, Стивен Элоп отметил, что в Nokia не ожидают улучшения в продажах смартфонов в конце года – не смогут использовать сезонный фактор. В первую очередь, это связано с пониманием того, что компания просто не произведет достаточного количества телефонов. Это не внешний фактор, который негативен по отношению к Nokia. Это четкое осознание того, что компания самостоятельно сократила объем производства.

На практике это означает, что купить аппарат в любой точке продаж вы не сможете. Например, в России купить Lumia 920 можно в салонах МТС (не во всех), в Связном (также есть не везде), а вот в Евросети модель отсутствует вовсе. Интересно, что если смотреть на продажи в конкретных точках, то они окажутся достаточно неплохими. Но как только вспоминаешь, что поток желающих генерируется со всего рынка в небольшое число магазинов, то все встает на свои места. Из общения с продавцами МТС (РТК), а также Связного вынес достаточно забавное наблюдение – за Lumia 920 люди приходят целенаправленно, продать аппарат на точке случайному покупателю достаточно тяжело.

Попытка купить несколько телефонов в мелком опте обернулась в России провалом. Их фактически нет, так как объем поставки минимален и уже разошелся по партнерам.

Интересно, что в США оператор AT&T получил экслюзив на 6 месяцев для Lumia 920. Но и там наблюдается ровно та же картина – минимальный объем поставок, точки продаж получают небольшое число телефонов. Но, что еще интереснее, продавцы не заинтересованы в продаже телефонов без контракта (моему товарищу отказали в 7 магазинах AT&T, отправив его покупать аппарат на интернет-сайте). Это оказался не единичный случай, например, вот тут описывается полностью идентичная история.

Объяснение следует искать в том, что продавцы получают деньги за контракт, но не за продажу телефона. Также они ограничены в количестве телефонов и поэтому предпочитают держать их на точке в ожидании покупателя, который захочет и телефон, и контракт.

В качестве ремарки хочу отметить, что несмотря на минимальную цену Lumia 920 для США, качество упаковки для этого рынка значительно выше и напоминает старые флагманы. В Европе упаковка очень недорогая, из переработанной бумаги. Но при этом в комплекте поставки для США сэкономили, и там нет даже наушников. Всего и сразу не бывает.

С точки зрения тактики в Nokia добьются таким подходом определенной экономии и улучшат свое положение. Нет надобности производить много телефонов, пусть и растет стоимость комплектующих. Ежеквартальный платеж в 250 миллионов долларов от Microsoft теперь будет частично работать в плюс и покрывать другие убытки. Не удивлюсь, если в 4 квартале 2012 года из-за изменившейся стратегии в Nokia смогут добиться положительной маржи для смартфонов. Но с точки зрения долгосрочной стратегии этот подход просто не имеет смысла. Во многих странах Lumia 920 сейчас недоступна, ее просто нет в наличии. Например, в Казахстане этот аппарат официально не появится в 2012 году (рынок небольшой, но он все-таки есть! И продать там небольшое количество можно). В Украине ситуация напоминает анекдот – на 49 неделе 4 крупнейших игрока получат по 50 аппаратов каждый, а общий объем отгрузок составит 800 штук. Все это вполне согласуется с тем, что делает компания, но не находит объяснения, если смотреть на эти действия в перспективе. Подобная экономия не дает компании будущего.

С точки зрения экономики, Nokia своими действиями самостоятельно снизила объем производства смартфонов, и это логично, но необъяснимо. Если вы понимаете, что ваш продукт не способен обеспечить продажи, то вам необходимо искать иной продукт. Но Стивен Элоп просто намертво привязан к Windows Phone и не имеет возможности даже посмотреть в другую сторону. И это загоняет Nokia в угол. Еще в 2011 году было не поздно рассмотреть другие возможности и выстрелить, постепенно возвращая себе рынок. Но вместо этого, восполняя недостаток маркетинговых бюджетов, Стивен Элоп вынужден кочевать по разным рынкам и выступать балаганным зазывалой, который рекламирует свои продукты. В России во время запуска Lumia 920 Элопу задавали не очень приятные вопросы о конкурентах и неудобстве текущих моделей, но ответа у него как такового не было. Он отшучивался.

Из вышеизложенного следует один, и очень важный вывод – бизнес Nokia снова уменьшился, сжался, как кусочек шагреневой кожи. И поэтому компания не способна доставить свой товар в большое число магазинов, у нее просто нет для этого средств и желания.

И в качестве завершающего штриха – объем предзаказов в России, как обычно и уже традиционно, бьет рекорды (это говорят в Nokia), но доставлять эти заказы будут через две недели от силы. Это другая сторона той истории, что была рассказана мной – компания пытается оценивать спрос реально, и поэтому из новых поставок часть пойдет на предзаказы (многие ожидавшие уже купили аппарат так). В чем тогда смысл предзаказа, если вы не получаете товар первым? Вы помогаете оценить спрос на него.

Одновременно с этим в Nokia идут различные маркетинговые активности, чтобы привлечь покупателей. Первым покупателям давали бесплатно в комплекте хорошие наушники, а всем, кто купит телефон Lumia 920 до Нового Года, еще обещают раздать бесплатно беспроводную зарядку. Мне кажется, что это явный перебор, при сложившейся ситуации это не повлияет сильно на продажи, тем более, что нет достаточного количества телефонов.

Внеклассное чтение:

Apple поворачивается к России лицом, а к Европе…

Две недели назад в Apple произошли некие события, которые привели к пересмотру позиции компании по отношению к Восточной Европе и, в первую очередь, к российскому рынку. Напомню, что недавно компания развернула борьбу с серым рынком, договорилась об открытии новых магазинов со Связным.

Приключения Apple в России – борьба с серым рынком

Скажу честно, что не ожидал, что компания изменит что-то еще и пойдет на серьезные изменения относительно ценовой политики. Но в Apple проделали фокус, который остался вне внимания покупателей, что меня удивило. Обычно все новости относительно Apple разносятся с быстротой молнии, а тут тишина и забвение. Объяснение, пожалуй, кроется в том, что самой сильной стороной в России является торговля серым товаром от Apple, то есть тем, что привезено в Россию неофициально. И тут никто не заинтересован в том, чтобы цены в официальных магазинах были сравнимы с таковыми у серых поставщиков.

Итак, без излишнего шума цены на многие продукты Apple неожиданно стали сравнимыми с таковыми в Европе (мы относимся к Европе, и поэтому цены будут на уровне этих стран, они выше, чем в США или Гонконге, но и это уже огромное достижение).

Например, в Финляндии MacBook Air c 64 ГБ памяти (младшая модель) стоит 1 099 евро, в Германии его стоимость 1 049 евро(отличается размер налогов). В России эту модель можно купить теперь от 35 000 рублей. И это дешевле европейской цены.

Аналогичное снижение цен коснулось многих иных товаров компании (но пока не затронуло планшеты, на телефоны цена также упала). Удивительность истории в том, что этого никто особо и не заметил. Компании-партнеры Apple в России боятся громко говорить о снижении цен, чтобы не уронить премиальный статус марки и свои продажи, также у них есть большое число старых закупок, сделанных по предыдущим ценам. Рынок оказался в очень странном положении, когда фактическая революция в ценах относительно одной и заметной компании прошла незамеченной. И в том, чтобы это стало известно, не заинтересован никто, кроме Apple, хотя и тут наверняка мнения разделились. В российской истории компании заканчивается очень большой период, когда продукты были дорогими, доступными не для всех. Например, я зашел на выходные в MediaMarkt в Москве и посмотрел на цены на MacBook – они были высокими, как раньше. Но скоро и они изменятся, если в Apple вдруг не случится ничего непредвиденного (думаю, что не случится).

С точки зрения покупателя, я радуюсь тому, что наконец Apple повернулся лицом к России. Но мне интересно, что заставило компанию это сделать. И вот тут мы переходим к не столь однозначной оценке этих событий, поэтому я выделю их в отдельный раздел.

Совсем забыл сказать, что следующим логичным шагом Apple становится продуктовая реклама, которая при равенстве или преимуществе цены с другими производителями сделает продажи выше. Это уже будет намек на то, что Apple начинает бороться за долю рынка. Аналогичная ситуация во многих странах Восточной Европы, то есть компании нужно выжать из рынка все, что только она может.

И да, если все-таки до Нового Года начнутся продажи iPhone 5 (предварительно говорили про 16 декабря, но в компании нет уверенности, что продукт будет доступен), то его начальная цена может составить 26-27 тысяч рублей за младшую модель. Это удар по серому рынку, так как оптовая цена на этот аппарат - 900 долларов вне России (Гонконг, США). С другой стороны, помимо цены, надо еще решить вопрос со временем начала продаж, но есть надежда, что при таком подходе это также случится скоро. По бизнесу перекупщиков это может нанести ощутимый удар. Но не будем гадать и просто дождемся изменений.

Акции Apple, глобальные продажи и потерянный дух Джобса

В свете падения цен для России докопаться до первопричины такого резкого изменения курса очень интересно. Последние полгода, да и несколько выпусков «Бирюлек» подряд я пытаюсь нащупать это ощущение. Коротко его можно охарактеризовать так – с уходом Джобса компания изменилась, был потерян человек, которого любили и ненавидели, но которому прощали многое. Возможно, что многие любили продукты Apple за то, что есть на свете человек, который реализовал свою мечту. И нам нравилась эта мечта, мы своими деньгами голосовали за нее. Невзирая на то, что этот человек был неоднозначен. Надо признать, что мечта закончилась и теперь начался голый бизнес.

Не претендую на полноту наблюдений, да и мой круг общения достаточно своеобразен, он состоит, как правило, из тех, кто определяет будущие умонастроения и ориентируется на то, что будет модно. Кто-то осознает свой выбор, кто-то делает его инстинктивно. Но почти всегда можно предугадать, что людям понравится и за что они будут голосовать своими деньгами.

С выходом iPhone 5 впервые стало слышно разочарование. Мне может кто-то сказать, что то же самое было с iPhone 3Gs/4s, но тут есть очень небольшое отличие – тогда ожидание было несколько иным, и все надеялись на чудо от Джобса. Сегодня его нет, как и особых надежд, та самая магия растворилась, и люди ожидают вполне привычных бизнес-решений. Вот, почти ухватил – Джобса считали гением, который умеет удивлять, и поэтому были готовы удивляться любому решению, признавая его право удивить нас. В то же время, мы не наделяем таким правом текущий менеджмент компании Apple, более того, мы зачастую считаем их умными, но не гениальными. Они стали такими же, как мы. И это частично разрушает магию Apple. Они на одной доске с нами.

Немного про Apple в аспекте конкуренции с Samsung я писал здесь.

Компания Apple совершила промах, она попыталась конкурировать с гигантом, южнокорейской компанией Samsung, которая имеет не такую хорошую стартовую позицию, как у Apple для текущего момента, но при этом в перспективе может победить компанию просто за счет ресурсов (это не только и не столько деньги, но направления развития и возможности). И это становится только вопросом времени. Пока у Apple была магия, ее продукты нельзя было победить обычными маркетинговыми приемами или это было очень сложно сделать. Они были заколдованы от любых нападок такого рода. Но магия ушла, и теперь они остались беззащитными (сильные продукты, хорошие продажи, но теперь их можно «убить», режим бессмертия отменили). Вопрос заключается в том, сколько времени у конкурентов уйдет на то, чтобы это осознать и начать отрывать куски от Apple. Боюсь, что они уже это осознали и готовятся к кровавому пиршеству.

Последние месяцы курс акций Apple волнует как обычных людей, которым не должно быть дела до них, так и биржевых игроков. Компания, которая при Джобсе образца 2000-х считалась эталонной, непотопляемой, вдруг чего-то лишилась, и инвесторы перестали верить, что она будет расти так же, как и прежде. Это тем страшнее, что внутри Apple все делают так же, как и раньше. Все действия совершаются ровно в той же последовательности, говорятся те же слова. Но другими людьми. Если вообразить, что Стив Джобс прожил бы еще один год, то уверен, что сейчас мы уже обсуждали стоимость Apple, перевалившую за триллион долларов. Но этого не произошло.

Люди обсуждают курс акций Apple и активно говорят о том, чего компания лишилась. Приводя множество разных обоснований и догадок. Профессиональные инвесторы ничем не отличаются от бабушек у подъезда и свои бессознательные страхи оформляют по привычке в десять пунктов, почему Apple будет падать. Например, в октябре Дуг Касс (Doug Kass), президент Seabreeze Partners (завсегдатай ТВ-шоу, медийная персона, постоянно обсуждающая курс акций и дела компаний с домохозяйками и не только), опубликовал свой список из десяти причин, почему Apple не так крут.

Перечислять их не буду, желающие могут пройти по ссылке и прочитать все самостоятельно. Вопрос в том, что уже в ноябре тот же Дуг Касс, решил, что не все так плохо и большая часть его претензий при падении курса акций до уровня в 540 долларов снята. Об этом читаем здесь.

И он снова инвестирует в акции компании. Что не могло не отразиться на том, что его стали подозревать в осознанном манипулировании для извлечения прибыли, например, об этом говорится в этой заметке.

На мой взгляд, каждый человек пытается осознать потерю духа Apple через доступный ему понятийный аппарат и инструменты. Для Дуга Касса это финансовый инструмент и акции. Поэтому его объяснение лежит в этой плоскости. Для обычного человека это то, что считается «крутым» продуктом и не имеет материального воплощения. Почему смартфоны от Apple круты в глазах людей? Только из-за интерфейса и материалов? Могу привести множество примеров других компаний, да хотя бы той же Motorola, которая производит изумительные смартфоны как по качеству исполнения, так и функциям. Но они мало кому нужны, и компания ежемесячно терпит убытки. В чем причина? Ответ очевиден – не хватает той самой «крутости», чего-то нематериально связанного с маркой.

Другой пример это разговоры журналистов и медиа про новые продукты от Apple. По моим ощущениям и судя по количеству публикаций, пик пришелся на выход iPhone 5, после этого выход iPad Mini уже не привлек такого внимания, да и обсуждения были скромнее. В целом, компания Apple стала генерировать не такой объем обсуждений, как до того. Внимание людей перераспределяется на новинки разных компаний, даже Microsoft со своим Surface получила свою толику славы. Еще интереснее, что самый популярный в обсуждениях телефон - это Lumia 920. Обсуждения отнюдь не означают продажи, но внимание к этой и другим моделям приковано.

Например, в журналистской среде обсуждения принимают разный характер, факт заключается в том, что фокус ушел в сторону продуктов не от Apple, это наблюдение делают во всем мире, в качестве его примера приведу вот этот материал.

Поклонники Apple тоже сильно отличаются по восприятию компании сегодня, кто-то признает, что что-то изменилось, но пока не может описать, что именно. Кто-то подыскивает слова в рамках своего сознания о том, что именно изменилось. Это разные слова, но, как мне кажется, в Apple исчез главный цементирующий элемент – Стив Джобс.

И тут можно перейти к следующему моменту – теперь у Apple нет права на серьезные ошибки, магия исчезла. То, что раньше сходило с рук, в новых условиях будет бить по компании. То, что можно было позволить воевать на всех фронтах, теперь превратится в оружие против Apple и уже превратилось, другие компании сравнивают с ней чаще, чем раньше.

То, что за последний год это осознали в Apple, очевидно. Попытка перестроить бизнес, изменения среди топ-менеджеров, а также ориентирование на прямую конкуренцию, это все трансформация компании. Изменения для Восточной Европы - только часть этого процесса. Компания ищет свой путь без Стива Джобса, и это нелегко. Наследие, которое оставлено нынешним руководителям, огромно, и растратить его в одночасье нереально. Поэтому с компанией ничего особенно страшного не произойдет, но почти наверняка она станет еще одной компанией, что сильно ударит по поклонникам, которые считали ее особой. Надо помнить, что особые продукты выходят из рук особых людей. А в Apple был такой только один. И замены ему пока не предвидится, это не то, что можно клонировать или создать.

С точки зрения текущей ситуации, ориентация на Восточную Европу также имеет тактическое обоснование – у Apple большие проблемы с поставками iPhone 5, их просто мало и они в дефиците. Это не искусственный дефицит, а невозможность компании Foxconn выпускать аппарат в достаточном объеме (забастовки, большой процент брака и переделок). Аналогичная ситуация с iPad Mini, при незначительном росте продаж планшетов вообще. И компании нужно не расстраивать инвесторов, для этого необходимо увеличение продаж тех продуктов, что есть в достатке. Восточная Европа в этом аспекте является самым перспективным рынком, который уже знаком с Apple, но не имеет сильных продаж. Здесь господствуют азиатские марки, так как они разрабатывали эти рынки десятилетиями. И вот тут Apple при равной стоимости может выиграть у них.

Продавцов эта ситуация расстраивает, так как они понимают, что с превращением продуктов Apple, особенно в России, в доступные, не слишком дорогие, без наценки за премиальность, они потеряют в том самом восприятии марки. На первом этапе это точно произойдет. И снова мы начнем говорить о том, что дух компании не тот. Хотя она только превращается в обычный бизнес, без каких-то магических сентенций.

Будет интересно, как вам кажется, изменился Apple за этот год и видите ли вы эти изменения. Что изменилось? Почему? Как? Ответы на эти вопросы сложны, а быть может, вам кажется иначе. Давайте обсудим это в комментариях.

Патентная война Apple продолжается – первое перемирие с HTC

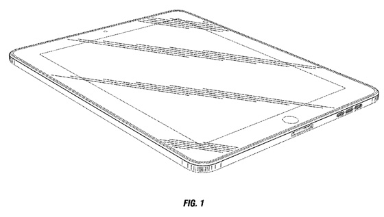
Начну с забавной новости: компании Apple в США в итоге удалось получить патент на прямоугольник с закругленными углами! Патентное ведомство США удовлетворило заявку компании, в которой описывается устройство без каких-либо признаков, дополнительных элементов – это только прямоугольник. Смотрите сами.

Сам патент можно найти вот здесь.

Любопытно, что основные баталии в американских судах со стороны Apple идут как раз относительно внешнего вида устройств. Теперь компания может совершенно спокойно идти в суд против всех производителей прямоугольных устройств с закругленными углами. В то же время, в Британии суд был проигран, как мы и обсуждали две недели подряд. На мой взгляд, это уже явный перебор и подобные патенты не должны выдаваться в принципе или они должны быть жестко привязаны к конкретному устройству, защищая его внешний вид. Но не описывать геометрические фигуры!

Другая новость, которая означает, что в Apple осознают обреченность войны на всех фронтах и со всеми компаниями – наступает 10 летнее перемирие с HTC. Компании кросс-лицензируют свои технологии и отзывают все претензии друг к другу из судов. При этом президент HTC в комментариях отметил, что никакого влияния это соглашение на финансовое положение компании не окажет (переводя на человеческий язык – мы ничего не заплатим Apple). Для Apple это не победа, а скорее, признак того, что в итоге пришлось договориться и отказаться от своих претензий. При этом возможность договориться с HTC высвобождает ресурсы для борьбы с Samsung, которая явно не прекратится. Вот только вопрос, кто выйдет победителем, пока компания планомерно проигрывает в продажах и уже отдает свои прибыли южнокорейской компании. Уверен, что договоренность с HTC стала возможной по одной причине - компания резко сократила присутствие в США и не представляет теперь угрозы продажам iPhone. Иначе эта договоренность не была бы возможной.

Дети и проблема с чтением – возможные пути решения

Уже в мое время родители жаловались на то, что дети не любят читать, а их за уши не оттащишь от телевизора. Позднее к телевизорам добавились видеомагнитофоны, игровые приставки и компьютер. В современном наборе к этому списку можно добавить портативные игровые приставки, телефоны, а также планшеты. Большинство детей предпочитает провести время скорее за игрой на планшете, чем за книгой. И вы можете изворачиваться как угодно, но дети читают неохотно, под принуждением и крайне редко загораются желанием прочитать что-то от корки до корки. Им интереснее посмотреть фильмы, чем прочитать книгу. Я это вижу на примере своих детей, их сверстников, да и подобные жалобы стали привычной частью разговора родителей о детях. Порой, когда родители говорят, что у них нет такой проблемы, они либо закрывают на нее глаза, либо им сказочно повезло.

Мои уловки обыденны – я пытаюсь перед тем, как показать или купить диск с фильмом (загрузить его из магазина или сети), дать книгу и попросить ее прочитать. В первом классе мои дети осилили Толкиена и ряд других книг именно таким образом. Хотя начали читать они до школы, но большие книги появились только в первом классе.

Обидно, что количество обучающих игр на русском языке или игр-головоломок, которые подойдут детям начального школьного возраста, исчезающе мало. На английском языке их довольно много, но теряется интерес у ребенка, когда ему нужна помощь родителей. Поэтому, когда я впервые увидел NARR8 весной этого года, я подумал, что комиксы и небольшие развлекательные текстовые серии с фотографиями могут быть удачны для детей. Проверка на этих выходных (игра на планшете только в выходные и жестко ограниченная по времени) показала, что я не ошибся. Дети с удовольствием читали сериалы, в частности, изучали, как животные и насекомые видят мир, как происходило завоевание Нового Света, а в качестве бонуса смогли посмотреть развлекательные комиксы. Читали вслух, делились с младшей сестрой и периодически прибегали, чтобы продемонстрировать свои открытия. За два часа чтения ни разу не порывались поиграть на планшетах, а были воткнуты в NARR8. Более того, вечером потребовали продолжения, и когда я сказал, что серии выходят раз в неделю, были по-настоящему расстроены.

Как мне кажется, в NARR8 смогли нащупать правильную нишу, не только для детей, но и для взрослых. Серии по задумке интересны, по качеству они не всегда хороши в реализации, явно не хватает опытных редакторов по разным научно-популярным темам. Но я не мог не придраться, так как в остальном считаю, что никто не создавал подобной платформы, которая может стать очень богатым источником всевозможного контента – и не только развлекательного, но и обучающего. И то, что это сделано нашими программистами, просто круто (давно и нежно люблю GameInsight, чего и не скрываю). Приятно, когда у нас создают что-то мирового уровня, есть, чем гордиться.

Призывать попробовать не буду, думаю, что вы уже попробовали, что это такое. Отрицательных отзывов про NARR8 я пока не встречал, от попробовавших - только позитив. И это приятно. Но хватит об этом, в конце концов, вы сможете и сами попробовать эту платформу на iPad (пока только на нем).

Социальные сети – поддельные аккаунты и немного про моду

Другой вопрос, который захватил меня, это поддельные или дополнительные аккаунты в социальных сетях. Причем, я говорю не про ботов, которые работают в пользу того или иного бренда, а скорее, про персональные аккаунты, которые создают живые люди, например, я. Грешен тем, что часто играю в различные игры на планшете, и зачастую разработчики делают в этих игрушках социальную составляющую. Например, скажи про игру в твиттере и получишь какой-то небольшой приз или что-то приятное для игры. То же самое для других социальных сетей. К сожалению, спам от таких программ воспринимается подавляющим большинством людей именно как спам. И никакого прощения нет тем, кто им занимается. Эта информация не персональная, автоматически создаваемая и, как правило, никому не интересная. Безусловно, она интересна тем, кто создавал игру – но я предпочитаю про лучшие игрушки или программы рассказывать так, а не позволять от моего имени публиковать автоматические сообщения.

Поэтому какое-то время назад я зарегистрировал в Facebook поддельный аккаунт, в котором нет никакой активности, кроме той, что связана с играми. Лента пестрит рекламными сообщениями разных игр, в какие-то я играл один раз, в какие-то несколько раз. Например, в NARR8 я подписался именно с такого аккаунта, теперь мои читатели не видят пестрых объявлений (на один комикс 4 сообщения!).

Отсутствие читателей в этом аккаунте никого не смущает, пока разработчики не обращают внимания на качество сообщений и того, в каких аккаунтах они публикуются. И это хорошо. Так как позволяет мне спокойно получить бонусы, но не засорять ленту спамом.

Оговорюсь, что во всех случаях, когда я могу купить то же самое, что дают бесплатные бонусы, я предпочитаю заплатить. Это честно по отношению к разработчику игры. Но и сами разработчики, зачастую понимая это, добавляют к социальной активности нечто редкое, то, что купить невозможно. Замкнутый круг.

Уверен, что у вас, скорее всего, нет таких поддельных аккаунтов, но они могут пригодиться не только игрокам. Например, в тви есть мой аккаунт, в который пишут мои напольные весы. Они раз в неделю сообщают о моем весе, вот только подписчик у этого аккаунта один – это я. Тоже не считаю эту информацию очень интересной для моих читателей.

Но хватит про дополнительные аккаунты, хочу немного затронуть вопрос моды на социальные сети, который вызвал нешуточную полемику на прошедшей неделе. Вначале изложу свою позицию – я считаю, что присутствует определенная мода на те или иные социальные сети. И всегда есть активная часть аудитории, которая мигрирует из одной сети в другую. Присутствовать во всех сетях невозможно, да и не нужно. Обычно люди остаются там, где им интереснее. Например, в Twitter у меня чуть больше 30 000 читателей и очень живое общение, которое интересно. В Google+ под 180 000 подписчиков, но общение не такое активное, да и с ростом этой сети оно явно испортилось (качество общения - не менее важный показатель). А вот Facebook для меня всегда был точкой присутствия, активно в обсуждениях я там не участвую, ленту не читаю совсем. Во многом это связано и с тем, что Facebook работает очень медленно со всех мобильных устройств без исключения, и это не вопрос канала.

На прошлой неделе пролетела волна публикаций о том, что многие заметные и популярные пользователи Facebook решили сменить его на Вконтакте. Например, вот эта заметка Антона Меркурова вызвала нешуточные страсти.

Я не сомневаюсь, что Вконтакте хорош (оговорюсь, что меня там нет). Более того, возможно, что он значительно лучше Facebook, и не в последнюю очередь за счет огромного количества контента. Но и Вконтакте и Facebook - это примерно одинаковые явления, то есть эти социальные сети реализуют одну и ту же модель. В текущем моменте возможно, что часть людей перетечет во Вконтакте и осядет там на какое-то время. Возможно, что это будет продолжительное время. Даже возможно, что с этого начнется закат Facebook (помните MySpace, ведь никто на пике не верил, что он исчезнет – и где он сейчас?).

Я не знаю, с чем связано, что многие заметные люди стали переползать во Вконтакте, и не является ли это хорошей работой PR-службы сети и Влада Цыплухина. Не знаю. Но точно могу сказать, что Facebook вырос, и огромным скачком, после приезда Цукерберга в Россию, когда центральные каналы обеспечили ему бесплатную рекламу, как, впрочем, и другие СМИ, а также обсуждения на всех площадках. Не претендуя на истину, могу также предположить, что многих людей такое активное обсуждение покоробило и вызвало отказ от Facebook (а причины каждый называет свои, но и эта, возможно, там есть). Это вопрос моды и удобства общения. К сожалению, в сети еще не придумали места, где общение было бы одинаковым многие годы. И на фоне всех этих войн и треволнений популярность растет постоянно только у одного сетевого сервиса. Уверен, что вы догадались, что это почта.

Внеклассное чтение:

Выход Lenovo на российский рынок – бизнес в стиле Acer

В Lenovo решили выйти со своими смартфонами на российский рынок и объявили об этом на прошедшей неделе. У нас есть подробный материал с презентации с описанием моделей, а об их тестах вы сможете прочитать в ближайшие дни.

Lenovo выходит на российский рынок смартфонов

Напомню, что Lenovo - мировой лидер рынка ПК, известен покупкой компьютерного подразделения IBM и, соответственно, линейки ThinkPad. В корпоративном мире ноутбуки Lenovo являются стандартом, в то время как линейка домашних ПК во многих странах не так заметна, но неплохо продается. С первым поколением планшетов компания не смогла занять какой-то значимой доли, сейчас выходят новые продукты, но пока непонятно, как они будут восприняты рынком. Четвертое место на рынке планшетов с минимальной долей - не очень большое достижение. Совсем иное дело - доля рынка на китайском рынке смартфонов, здесь компания в августе стала номером два, а в первом квартале занимала впечатляющие 16.5 процентов рынка.

Вне рынка Китая смартфоны Lenovo практически неизвестны. Для компании это направление является одним из приоритетных, но проблема заключается в том, что на родном рынке основным мерилом успеха является низкая стоимость. Поэтому в Lenovo ориентируются на платформу MTK и достаточно бюджетные решения. Например, модели, представленные в России (или их аналоги), можно найти в Китае по почти вдвое меньшей стоимости.

С точки зрения Lenovo, смартфоны - это популярное направление и его надо развивать, поэтому выход компании в России логичен. То, что, в отличие от Sharp, названа сеть, в которой начнутся продажи, также приятная новость – это не пустые обещания, товар будет на полках.

Но вот что меня несколько смущает, так это ощущение дежавю, которое было у меня, когда я смотрел на то, что и как делается в смартфонах. В 2010 году компания Acer вышла на российский рынок смартфонов, была наружная реклама, активность в сети, марка стала заметной и даже добилась локального успеха в течение пары кварталов, пока ее продукты были в новинку. Дальше с продажами стало все не очень хорошо, глобально компания не хотела снижать цены, а партнеры - закупать новый товар. Также произошла глобальная реорганизация в Acer, которая поставила крест на направлении смартфонов, и только сейчас в Acer вновь решили вернуться сюда. Глава российского представительства Глеб Мишин тогда критиковал решение отказаться от смартфонов и считал, что это направление было перспективным. Сейчас господин Мишин вместе с основным костяком своей команды работает в Lenovo и проделывает ровно то же самое, что и в Acer. То есть, пытается развивать те направления, которые были успешны в Acer. Изменилась компания, но не подход.

Меня очень настораживает в этой истории следующий момент – в Acer глобальная перекройка стратегии скрыла то, что продажи смартфонов падали и они не развивались. Возможно, что это было связано непосредственно с продуктом, а не только со стратегией. Возможно, этого нельзя исключать. Но в случае с Lenovo мы видим типично китайские продукты, которые явно уступают компаниям, которые уже закрепились на российском рынке. Интересно, что одна из двух представленных моделей рассматривалась более полугода назад Fly для запуска в России, но от нее отказались, так как не увидели перспектив и не смогли получить низкую цену входа. И при одинаковости продукта или отсутствии явных преимуществ особое внимание компании придется уделять маркетингу, а также PR. В случае Acer ничего особенного в этом направлении не было, никаких сверхусилий. Только нормальная, адекватная, спокойная работа. Но этого явно недостаточно для того, чтобы играть активную роль на российском рынке. С другой стороны, возможно, что в компании нет амбициозных планов, и тогда любые продажи идут в плюс.

Сравнивая Sharp и Lenovo, я поставлю на вторую компанию, так как у нее больше ресурсов и возможностей, а также есть свое производство телефонов, включая R&D. Если в Lenovo будут в будущем не только адаптировать, но и разрабатывать телефоны для внешних рынков, то у компании будут прекрасные шансы закрепиться здесь. Если этого не произойдет, то это будет еще один производитель второго эшелона. Один среди многих.

P.S. Эта неделя будет богата обзорами, а также различными материалами. От меня появится обзор MS Surface и продолжение обзора Windows RT. Также расквитаюсь с долгом по часам MOTOACTV. Очень рекомендую подписаться на канал YouTube, так как там уже есть видео с описанием новых продуктов, а вскоре появятся и новые. Не пропустите их.

И традиционно желаю вам удачной и насыщенной недели. Я наткнулся на очень интересную книгу Тима Ву «Главный рубильник» и как только дочитаю, напишу рецензию. Крайне приятная книга и, к тому же, по нашей тематике. Удачной недели!

Обсуждение на форуме >>>

К содержанию >>>

Ссылки по теме

Бирюльки №195. Ценовые войны в России. Война Apple с серостью

Бирюльки №196. Panasonic – измениться или исчезнуть навсегда

Бирюльки №197. Отличные продажи iPad Mini и рынок планшетов

Эльдар Муртазин (eldar@mobile-review.com)
Twitter
Опубликовано — 12 ноября 2012 г.

Блог MrMurtazin.com

Поделиться

Мы в социальных сетях:

Есть, что добавить?! Пишите... eldar@mobile-review.com

 

Новости:

13.05.2021 MediaTek представила предфлагманский чипсет Dimensity 900 5G

13.05.2021 Cайты, имеющие 500 тысяч пользователей из России, должны будут открыть местные филиалы

13.05.2021 Amazon представила обновления своих умных дисплеев Echo Show 8 и Echo Show 5

13.05.2021 МТС ввел удобный тариф без абонентской платы - «МТС Нон-стоп»

13.05.2021 Zenfone 8 Flip – вариант Galaxy A80 от ASUS

13.05.2021 Поставки мониторов в этом году достигнут 150 млн

13.05.2021 Состоялся анонс модной версии «умных» часов Samsung Galaxy Watch3 TOUS

13.05.2021 Tele2 выходит на Яндекс.Маркет

13.05.2021 OPPO представила чехол для смартфона, позволяющий управлять устройствами умного дома

13.05.2021 TWS-наушники с активным шумоподавлением Xiaomi FlipBuds Pro

13.05.2021 В России до конца следующего года появится госстандарт для искусственного интеллекта

13.05.2021 ASUS Zenfone 8 – компактный флагман на Snapdragon 888

12.05.2021 Компания Genesis представила внешность своего первого универсала G70 Shooting Brake

12.05.2021 В России разработан высокоточный гироскоп для беспилотников

12.05.2021 В Россию привезли новую версию смарт-часов HUAWEI WATCH FIT, Elegant Edition

12.05.2021 Раскрыты ключевые особенности смартфона POCO M3 Pro 5G

12.05.2021 Honor 50: стали известны дизайн и другие подробности о смартфоне

12.05.2021 Чипсет Exynos 2200 от Samsung будет устанавливаться и в смартфоны, и в ноутбуки

12.05.2021 МТС начала подключать многоквартирные дома к интернету вещей

12.05.2021 iPhone 13 будет толще и получит более крупные камеры по сравнению с iPhone 12

12.05.2021 Xiaomi договорилась с властями США об исключении из чёрного списка

12.05.2021 Xiaomi выпустила обновлённую версию умного пульта Agara Cube T1 Pro

Hit

12.05.2021 Игровые ноутбуки с NVIDIA GeForce RTX 3050 Ti уже в России!

12.05.2021 Индийский завод Foxconn сократил производство в два раза

12.05.2021 Lenovo отказалась от очного участия в предстоящем в июне Mobile World Congress

Подписка
 
© Mobile-review.com, 2002-2021. All rights reserved.